2025.11.24
风芒能源
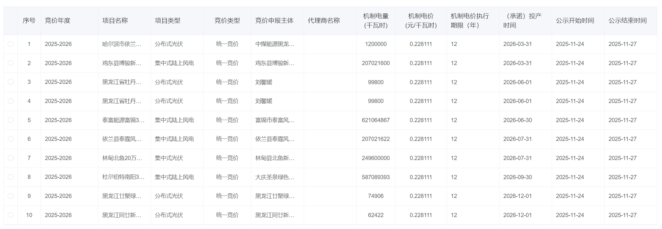
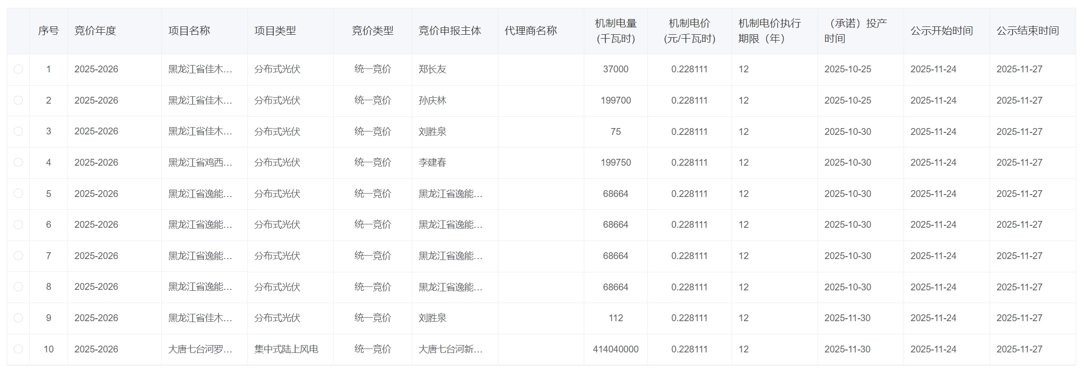
风芒能源获悉,11月24日,黑龙江2025—2026机制电价竞价结果公示。
统一竞价项目竞价出清结果:机制电量规模63.04亿千瓦时,机制电价水平 0.228111元/千瓦时,项目277个。
其中,涉及风电项目项目11个,均为集中式陆上风电项目,机制电价0.228111元/千瓦时,机制电量规模52.71亿千瓦时,执行期限为12年。

10月11日,黑龙江省2025-2026年度新能源项目竞价公告公布。
根据公告,考虑单一类别竞价主体较集中、整体规模较小、缺乏有效竞争,风电、光伏统一合并竞价、出清。
竞价参数:
(一)电量规模。机制电量总规模为63.04亿千瓦时(按全年计算)。
(二)申报充足率。竟价申报充足率不低于125%。
(三)机制电量比例。单个项目申报机制电量比例不超过其全部上网电量的85%。
(四)竞价上下限。风电、光伏竞价上限均为0.3元/千瓦时;竟价下限均为0.114元/千瓦时,含税。
(五)执行期限。机制电价执行期限为12年。
(六)风电、光伏项目平均发电利用小时数。近三年黑龙江省风电、光伏项目平均发电利用小时数分别为2485小时和1517小时。
详情见下


0条评论